Un nouveau brevet a été dépose par le constructeur Sony pour la fabrication d’une nouvelle manette Dualshock 4 avec 2 nouveaux boutons dorsaux.
Sony ne semble pas abandonner la PS4
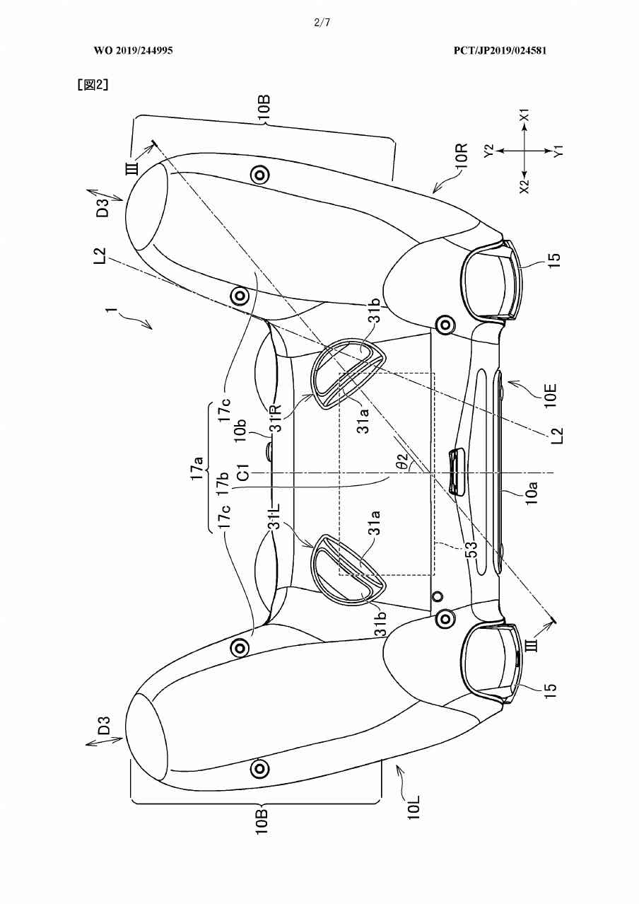
Le 26 décembre dernier, Sony déposait un nouveau brevet pour une manette Dualshock à destination, semble-t-il, de la PlayStation 4. En effet, même si tous les yeux sont tournés vers la nouvelle console du constructeur nippon qui est attendu pour la fin de l’année 2020, le design de cette nouvelle manette ne coïncide pas avec celui de la PlayStation 5, déjà aperçu et breveté en novembre dernier.
Non, cette nouvelle manette ressemble comme 2 gouttes d’eau à une Dualshock 4 à qui on aurait greffé 2 boutons dorsaux, à l’image de la manette Xbox Elite ou de nombreuses autres manettes de constructeurs tiers. Outre son design, c’est la présence d’une prise micro-USB qui met la puce à l’oreille (la manette de la PS5 intègre une prise USB-C). Une probable tentative de Sony de rivaliser avec le marché actuel.

D’après ce qu’on peut lire, ces fameuses gâchettes dorsales devraient être personnalisables. Les joueurs pourront, par exemple, les programmer pour exécuter les fonctions d’autres boutons de la manette. Et pour ceux qui font des grimaces dans le fond quant à l’emplacement des gâchettes, sachez qu’elles pourront être déplacées afin de satisfaire toutes sortes de mains.
Dans tous les cas, il ne s’agit à l’heure actuelle que d’un simple brevet. Le produit peut changer du tout au tout et il faudra donc attendre une annonce officielle de la part du constructeur japonais avant de pouvoir se réjouir.